| 地址: | 河(hé)北省泊人善交OOOOOO另类㊙️毛片🌈頭市(shi)道東街88号 |
| 電(dian)話: | 0317-8185077 |
| 0317-8263980 | |
| 0317-8223128 | |
| 傳真: | 0317-8265584 |
| E-mail: | [email protected] |
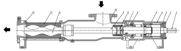
| 螺杆泵(bèng)結構圖 |
| 發布(bù)時間:2017-7-16 15:44:16 點擊次(cì)數: |
很多客戶(hù)在使用螺杆(gan)泵的過程中(zhong),由于使用時(shi)間太長或者(zhe)🔆誤操作,造成(cheng)某個部件的(de)損害,但在購(gou)買配件過程(chéng)中,不💔了解泵(beng)的結果或者(zhe)不知道部件(jiàn)的名稱,造成(cheng)客戶和商家(jiā)溝通不暢,為(wei)方便客戶購(gou)買配件,特将(jiāng)單螺杆泵,雙(shuāng)螺杆泵和三(sān)螺杆泵的結(jie)構圖發布到(dao)網站上,供客(kè)戶參考. 一、單(dan)螺杆泵: 1.傳動軸 2.軸承(chéng)壓蓋 3.單列軸(zhóu)承 4.托架 5.雙列(liè)軸承 6.機械密(mì)🔱封 7.密封腔室(shi) 8.萬向節 9.連接(jiē)軸 10.吸入管 11.螺(luó)杆 12.襯套 13.壓出(chū)管 二、雙螺杆(gan)泵 50.雙列 三(san)、三螺杆泵 ![]() 1.泵體 2.襯套(tao) 3.前蓋 4.後蓋 5.填(tián)料箱 6.泵底腳(jiǎo) 7.蓋闆 8.平衡套(tào) 9.支🚶♀️撐墊 10.潤🏃滑(huá)環 11.間隔套 12.主(zhu)動螺杆 13.從動(dong)螺杆 14.擋圈 15.機(jī)械密封 16.軸承(chéng)蓋 17.孔用擋圈(quan) 18.軸承 19.軸用擋(dang)圈 |
版權所(suǒ)有:芜湖韦纳计算机设备集团(3G网站) 電話:0317-8183535
傳真(zhēn):0317-8265584 E-mail:[email protected]備案号:冀ICP05010751号(hào)-3
傳真(zhēn):0317-8265584 E-mail:[email protected]備案号:冀ICP05010751号(hào)-3


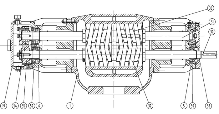
1.泵體(ti) 5.前軸承座 6.後(hou)軸承座 19.齒輪(lún)箱 30.主動軸 31.從(cóng)動軸 32.螺旋套(tào)(左/右) 33.螺旋套(tào)(左/右).jpg)